2.1 投标业务
2.1.1 操作步骤
完成招标业务,如下步骤:
步骤1:绑定企业微信
步骤2:报名
步骤3:上传资质文件
步骤4:缴纳标书费
步骤5:下载标书
步骤6:缴纳保证金
步骤7:投标报价
步骤8:开标评标
步骤9:缴纳中标服务费
步骤10:下载中标通知书
步骤11:查看并下载发票凭证
步骤1:绑定企业微信
若未绑定过企业微信,则会有如下图提示:

将鼠标移至【二维码】按钮,即可展示二维码。

使用微信扫码,首次加入时会要求输入企业名称+联系人名称,输入后点击【加入】即可。
注意:企业微信[企业名称]和供应商资料[供应商全称]一致才能自动绑定。

加入成功后,点击【已加入企业微信】,等待数秒若匹配成功,即可进行报价。

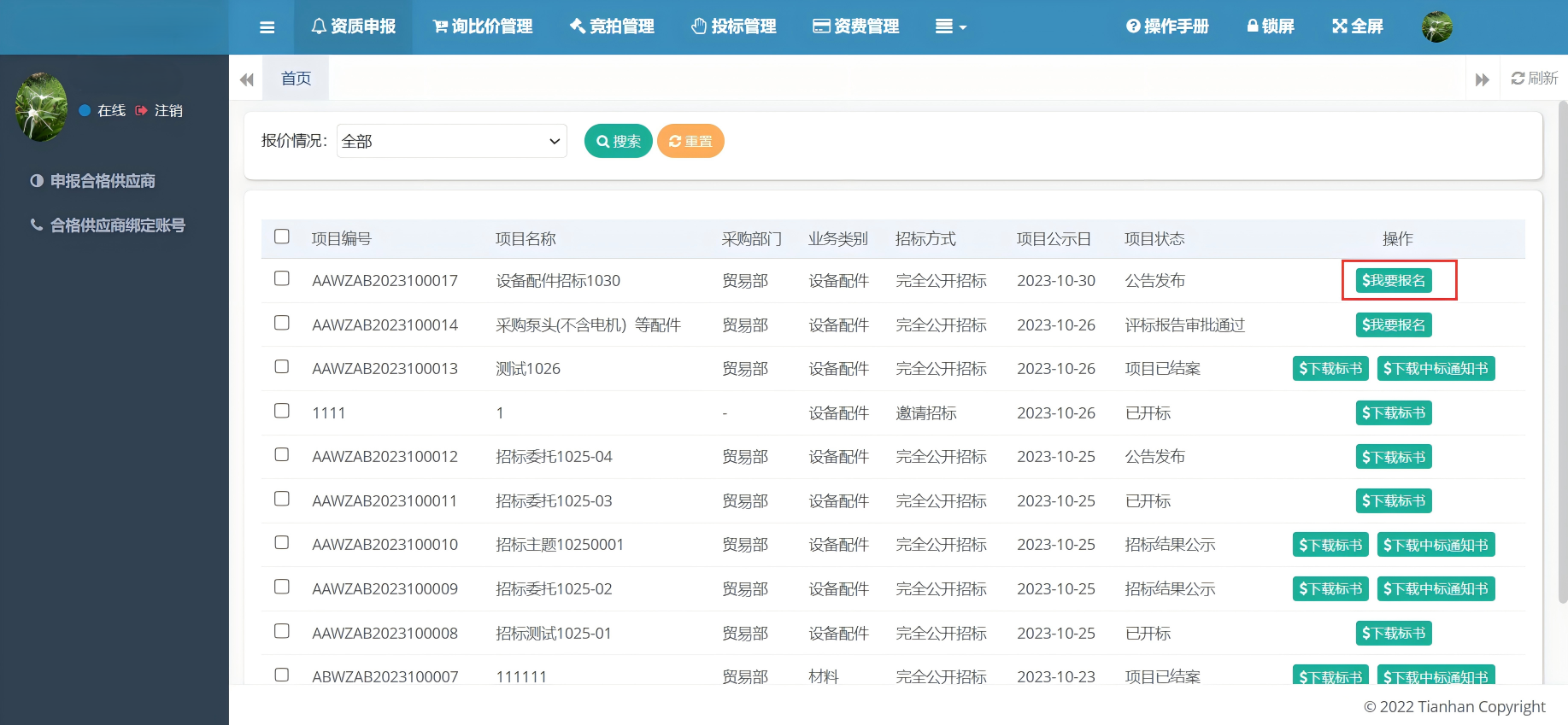
步骤2:报名
门户网站(bid.hnmining.com)上可看到公开招标的项目。【查看详情】查看项目的详情,【我要投标】参与投标。

登录到项目中,点击【我要报名】参与投标。

步骤3:上传资质文件
报名成功后,会提示到指定页面找到对应项目,在项目右侧点击【通用专用资格材料】按钮,上传项目需要的资质文件附件。

步骤4:缴纳标书费
报名后,供应商绑定的企业微信会收到缴纳标书费提示消息,供应商可以通过线下汇款缴纳标书费,海矿财务确认收款后,供应商可以在平台上下载标书。
步骤5:下载标书
登录首页后,在首页找到对应项目,点击右侧【下载标书】,即可下载标书。

步骤6:缴纳保证金
供应商在资格预审通过后,点击【我要报价】,系统会提示缴纳投标保证金,供应商缴纳投标保证金后,财务确认收款后可以进行报价。

步骤7:报价
在财务确认保证金已缴纳后,供应商就可点击【编辑报价单】进入报价页面。
报价完成后,点击【保存】按钮,完成报价。
步骤8:开标评标
在开标评标过程中,评委如果对供应商报价或者其他方面有疑问,需要供应商进行澄清的,会通过企业微信发送消息给供应商,供应商在评标时间段应关注企业微信信息,是否有需要澄清的内容,并及时回复。
步骤9:缴纳中标服务费
项目评标结果确定后,会通过企业微信发送中标通知给供应商,供应商按照信息内容提示进行缴纳中标服务费。
步骤10:下载中标通知书
海矿财务确认收到中标厂商的中标服务费后,供应商可以登录平台,在首页找到对应项目,点击【下载中标通知书】进行下载。
